适用版本:西软移动产品
1.7.7. 部门评价项目明细表
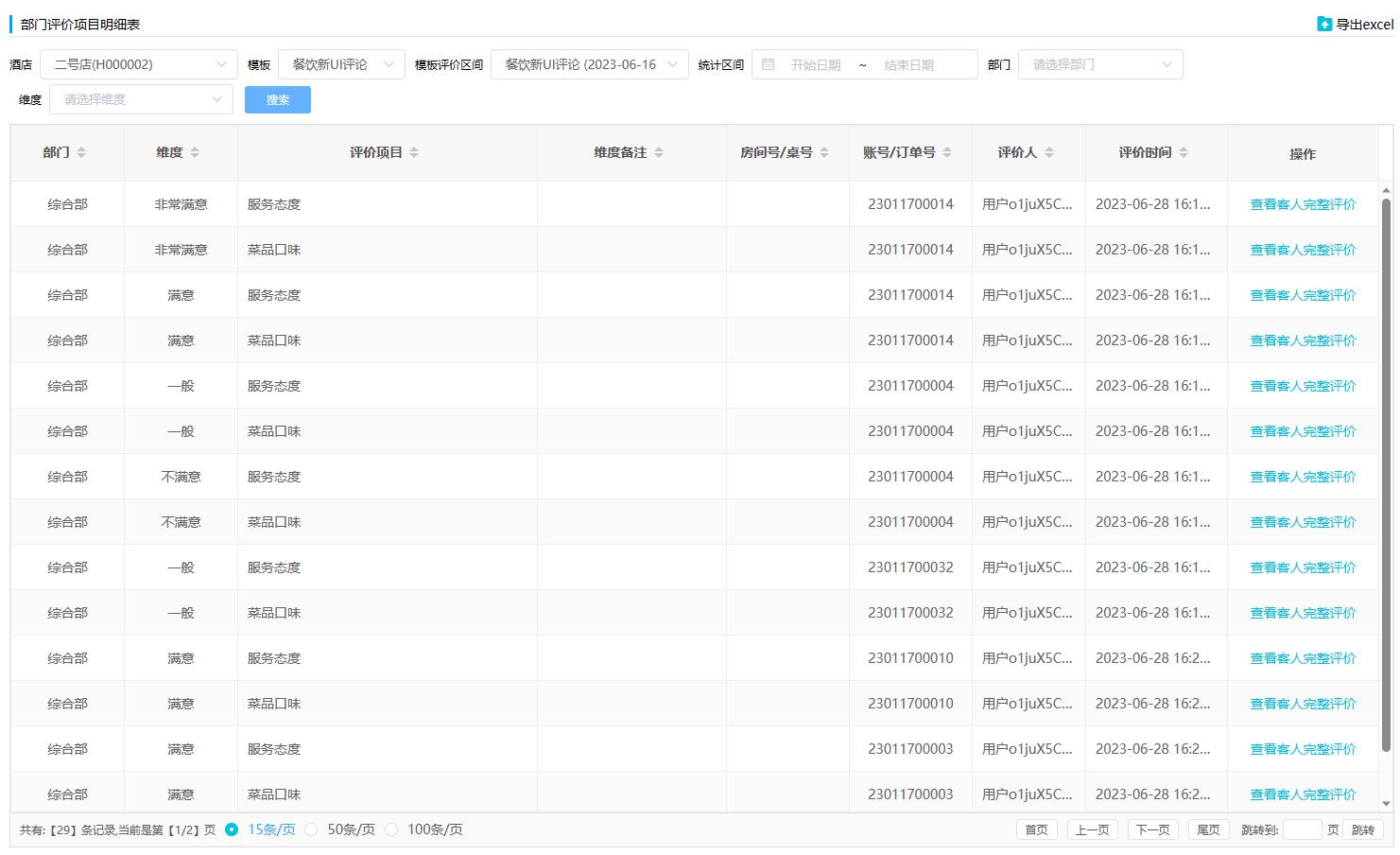
根据所选的酒店、模板、模板评价区间即模板明细、评价数据统计区间、部门以及满意
度查询部门评价项目明细数据记录,点击〖导出〗按钮可以将记录导出为 Excel 表格。(如图 1.7.7-1 所示)
图 1.7.7-1 部门评价项目明细表
可点击记录操作列的【查看客人完整评价】来查看该满意度数据来源的完整评价明细。(如图 1.7.7-2 所示)
图 1.7.7-2 客人完整评价
上一篇:1.7.6. 部门评价项目汇总表
下一篇:二、手机端-小程序模式
如对此有疑问,请发送邮件给我们
地址:杭州市文一西路1218号恒生科技园28号楼
0571-88231188
www.foxhis.com
文档更新时间: 2025-07-28 05:58 作者:王文涛