适用版本:XMS所有客户
1.产品说明
客房通V4.20.15_4.21.1版本,在每周小版本更新基础上,
核心功能变更是支持石基Daylight PMS。
1.1 产品亮点
- 支持石基Daylight PMS;
- 房态图房态与图标联动筛选,且支持自动刷新;
- 清扫员属性与对应单价可自定义;
- 工程报修支持批量派工及验收,耗材录入支持旧件回收;
1.2 功能清单
- Daylight PMS对接
a. 功能对接:
i. 移动后台支持酒店、岗位、角色及工号的独立管理;
ii. 客房通支持实时房态、修改房态、房间信息、房态日志、客房消费、客房租赁、客遗管理、矛盾房管理、宾客信息和服务消息等最常用的模块,同时也支持客房清洁及工程报修模块;
注意:查房及临时态在Daylight PMS中没有对应业务,则不支持; - 常用功能完善
a. 实时房态:支持房态与图标的联动筛选,支持自动刷新; –北京海湾半山酒店 - 客房清洁模块完善
a. 打扫分配(后台):打扫分配增加房型筛选,且可显示房型; – 南京紫金山庄
b. 打扫分配(App及后台):支持钟点房及自用房单独颜色的显示,图标上也增加了钟点房; – 成都锦江宾馆
c. 清扫员属性:后台清扫员属性在自有、派遣、外包及加班基础上,可自定义其它属性; – 格兰云天集团
d. 客房物耗:后台客房物耗可关联房号,支持特殊房间显示对应的物耗内容; – 成都正源禧悦酒店
e. 每月打扫汇总:增加外包公司的查询; – 阜阳白金汉宫大酒店 - 工程报修模块完善
a. 报修中心:后台报修中心增加批量派工和批量验收功能; – 沂河宾馆
b. 工程耗材:App及后台工号耗材录入自持旧件回收; – 成都正源禧悦
1.3 适配版本

2.功能展示
2.1 Daylight PMS对接
a.功能说明
版本要求:
● 客房通版本:V4.21.0
目标酒店:大兴木棉花
更新内容:
- 移动后台支持酒店、岗位、角色及工号的独立管理;
- 客房通支持实时房态、修改房态、房间信息、房态日志、客房消费、客房租赁、客遗管理、矛盾房管理、宾客信息和服务消息等最常用的模块,同时也支持客房清洁及工程报修模块;
注意:客房通的系统参数配置增加了Daylight PMS的设置项;
图一
图二
图三
2.2 常用功能完善
a.实时房态
版本要求:
‒ 客房通版本:V4.20.16
需求酒店:北京海湾半山酒店
更新内容:App实时房态的筛选,支持房态和图标的联动筛选,例如我要看所有VD房态下EA的房间,点击VD再点EA即可;同时增加自动刷新功能,可选自动刷新的间隔时间;
使用场景:当酒店想查看某个房态下VIP/EA/ED等信息时,可使用联动查询功能;
当酒店某一个岗位长时间在实时房态页面操作时,可使用自动刷新功能(比如仅用此放房的主管);




2.3 常用功能完善
a.打扫分配(后台)
版本要求:
‒ 客房通版本:V4.20.16
需求酒店:南京紫金山庄
更新内容:后台打扫分配筛选页面增加房型的筛选,及房型显示的开关,打开后房间块会显示房型代码;
使用场景:当酒店想筛选特定房型去分配时,可使用此功能;

b.打扫分配(APP及后台)
版本要求:
‒ 客房通版本:V4.21.1
需求酒店:成都锦江宾馆
更新内容:App及后台打扫分配增加钟点房图标的显示,目前支持钟点房、自用房及长包房的图标;App及后台打扫分配增加对钟点房、自用房单独颜色的显示;
使用场景:当酒店在打扫分配,在不想设置单独颜色时可以通过图标来区分这3类房间;当酒店在打扫分配,想单独区分钟点房及自用房的不同颜色时,可使用此功能;
图一
图二
c.清扫员属性
版本要求:
‒ 客房通版本:V4.20.17
需求酒店:格兰云天酒店集团
更新内容:清扫员属性调整成可自定义,即在自有、加班、派遣及外包的基础上,酒店可增加其它属性,并可设置对应的单价,业绩计算更具灵活性;
使用场景:当酒店存在其它特殊的属性时,可使用此功能,例如领班做房其单价不同;

d.客房物耗
版本要求:
‒ 客房通版本:V4.20.15
需求酒店:成都正源禧悦酒店
更新内容:后台客房物耗品类中,物耗关联房型的基础上,可将物耗关联至房号,若同时关联则优先房号;
使用场景:酒店相同房型但实际房间物耗录入的项目不同时,可使用此功能,以便实现不同房型或房间显示不同的物耗品;

2.4 工程报修模块完善
a.报修中心
版本要求:
‒ 客房通版本:V4.21.1
需求酒店:沂河宾馆
更新内容:后台报修中心增加批量派工、批量验收及评价的功能;批量操作最多同时支持15个报修单;
使用场景:当酒店需要派多个单子给同一维修人时,可使用此功能;当酒店想批量验收时,也可使用此功能;




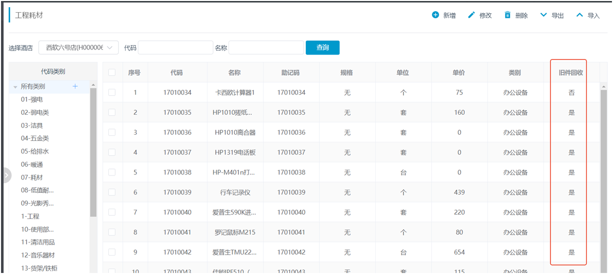
b.工程耗材
版本要求:
‒ 客房通版本:V4.21.1
需求酒店:成都正源禧悦酒店
更新内容:新建耗材时增加是否旧件回收字段,若设置了旧件回收,则耗材录入时自动带上旧件数量,可以修改旧件回收的数量,但需要输入备注;增加旧件回收统计报表;
使用场景:当酒店需要回收耗材旧件或统计旧件回收情况时,可使用此功能;
图一
图二
图三
上一篇:餐饮通V5.30 产品简报
下一篇:扫码通3.9.0产品简报
如对此有疑问,请发送邮件给我们
地址:杭州市文一西路1218号恒生科技园28号楼
0571-88231188
www.foxhis.com